
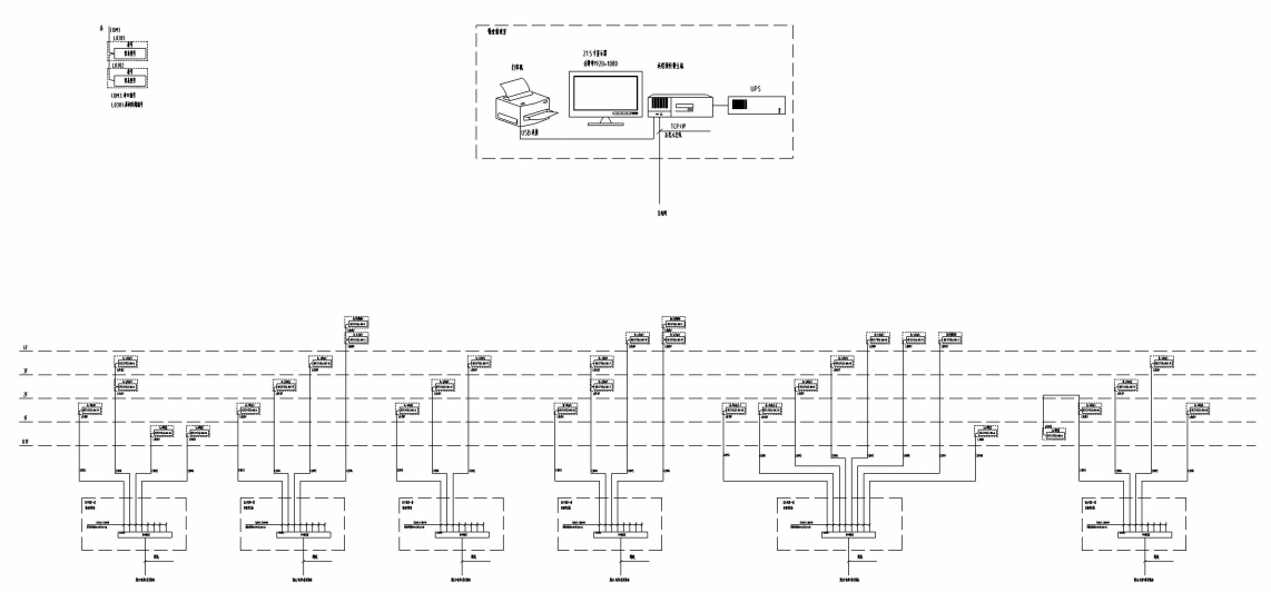
a. ¿ìËÙÉèÖ㬣¬£¬£¬£¬£¬¼´×°¼´Ó㺽«µç±íºÍͨѶ¹ÜÀí»úÉèÖõ¼Èëϵͳ¾Í¿ÉÒÔʹÓ㻣»£»£»£»
b. Ô¶³Ì¼¯Öг±í£ºÃâÈ¥È˹¤³±í£¬£¬£¬£¬£¬£¬µç±í״̬ʵʱÐÔ¿É׼ȷµ½3·ÖÖÓÒÔÄÚ£»£»£»£»£»
c. Ö§³Öµ¥¶À¼Æ¼Û¡¢¶à·ÑÂÊ¡¢õè¾¶µç¼Û£º¿É¶Ôÿ¿éµç±íµ¥¶ÀÉèÖõç¼Û¡¢·ÑÂʺÍõè¾¶µç¼Û£»£»£»£»£»
d. Ô¶³ÌÊ۵磺²ÆÎñ¼¯ÖйÜÀí£¬£¬£¬£¬£¬£¬µçÁ¿ÊµÊ±Ï·¢£¬£¬£¬£¬£¬£¬²¢±È¶Ô³äÖµ´ÎÊý±ÜÃâ×÷±×£»£»£»£»£»
e. Êý¾ÝÇå¾²£ºÍøÂçÊý¾Ý´«Êä½ÓÄɽðÈÚ¼¶µÄ3DES¼ÓÃÜËã·¨£¬£¬£¬£¬£¬£¬±ÜÃâÊý¾Ý×÷±×ÇԵ磻£»£»£»£»
f. Ô¶³Ì¿ØÖÆ£º¿É¶Ôí§ÒâÒ»¿éµç±íÖ´ÐÐÔ¶³ÌÀÕ¢»ò±£µçµÈһϵÁÐÔ¶³Ì¿ØÖƲÙ×÷£¬£¬£¬£¬£¬£¬Àû±ã¹ÜÀí£»£»£»£»£»
g. ÄÜºÄÆÊÎö¼°ÅÌÎÊ£ºÓû§ºÍ¹ÜÀíÔ±¶¼¿ÉÅÌÎÊÔ¤¸¶·Ñ±í»òÖÖÖÖ½ÓÈëµÄ¼ÆÁ¿ÒDZíÌìÌìµÄÓÃÄÜ״̬£»£»£»£»£»




